一、为什么还要谈清水砖墙修复?
清水砖墙是建筑外表面的一种典型材质和工艺做法,在中国古代与近代建筑中均较为常见。在中国知网检索到的2000年以来专门讨论历史建筑中清水砖墙修复方法和施工技术的学术文章有10余篇,针对这一小小的问题,似乎讨论的已足够充分,但在保护实践中却依然问题重重,各地使用的修复方法、技术、材料五花八门,专家们一再呼吁应该废止的修复方法,在实践中仍能见到,很多清水砖墙建筑在“不当”修复后,已经发生“修复性破坏”。造成当前这种保护理论与保护实践严重脱节的主要原因大概可以分为以下几点:
(一)以往关于清水砖墙修复的讨论只重视修复方法和施工技术,忽视了对“保护什么”的思考
保护清水砖墙时,到底是在保护什么?换句话说,清水砖墙到底有什么价值?哪一部分才是真正有价值的?保护理念和逻辑的混乱造成了实践中的“好心办坏事”。在贵州某近代建筑的修复工程中,将清水砖墙面整体用较厚的水泥砂浆覆盖,再用线描出白色砖缝,整个墙面整齐划一,调查中得知这是当地的通常修法,为的是美观坚固,而在老砖面上原有翻模印字之处,还刻意将其留白,漏出底层的印字,美其名曰“展示”。殊不知这种水泥砂浆整体覆盖,掩盖了清水砖墙真正“有价值”的部分,且可能会加速砖面的破坏(图1)。

图1 贵州某近代建筑清水砖墙修复后刻意保留的印字
(二)清水砖墙缺乏国家层面的修复技术标准,一线工人缺乏足够的培训,大部分项目预算不足
上海的近代建筑数量大、类型多。新中国成立后,这些仍处于日常使用中的近代建筑,采用“房修”模式来进行维修,积累了丰富的修缮经验。在清水砖墙修复技术方面,上海经历了涂色描缝、批平刻缝、贴仿制面砖、砖粉修补、替砖修复等阶段,最终出台了地方修缮规范。同时,经过多年的实践探索,上海已形成清水砖墙修复的稳定市场竞争机制和价格机制,项目经费一般比较充足。目前上海近代建筑外立面修复大多采用外墙专业分包的模式,经过长时间的磨合和培训,已形成几支专门从事外墙修复的分包队伍,有固定的熟练工人,对保护理念的理解、对材料和技术的熟练程度远超一般工人,因此专业的施工队伍大多能较好地理解并贯彻设计师的意图。相比之下,其他地区在清水砖墙修缮中存在单项经费不足及技术理念落后等问题。但即便是在上海,清水砖墙修复至今仍存在技术方法上的差异,当前广为流行的“满敷砖粉、打磨出底”工法,修复完成后砖表面布满弧形的角磨机打磨痕迹,带来砖面破坏等一系列问题(图2)。

图2 上海某近代建筑清水砖墙修复后的弧形磨痕
(三)清水砖墙修复最终效果的呈现有诸多主观因素,与项目“能主之人”的理念和审美有密切关系
文物建筑保护修复过程会有很多人参与,就算已经确定了修复的材料、技术,但修复的“程度”仍是由现场指挥者和实施者共同决定的,而不同的人对保护修复的主观理解又千差万别,这也造成了最终效果的差别。明代计成在《园冶》中开篇即阐明“世之兴造,专主鸠匠,独不闻三分匠、七分主之谚乎?非主人也,能主之人也。”与造园一样,决定一个修复项目成败的关键也是“能主之人”,有时候此人是保护设计师,有时候会是行政管理者,当二者皆不在场时,则由施工者的意图来决定。这些“能主之人”的审美水平在保护修复最终效果呈现中会起到至关重要的作用,而这恰恰又是无法完全用技术规范来约束的。
今天再来谈清水砖墙修复,就是要在前人研究成果和实践经验的基础上,探索一种简洁明了的,能对现场进行指导的价值评价和材料技术选择方法。
二、近代建筑清水砖墙要保护什么?
我国古代建筑史上,砖的出现是比较早的,在“秦砖汉瓦”的时代,烧制砖瓦的技术已较成熟,但受限于物质和经济水平,直到明代才在地面建筑中大规模使用青砖。北方地区开始流行硬山顶建筑,山墙通常用青砖砌筑,南方地区则在重点部位比如仪门采用青砖装饰,且大多经过“磨砖对缝”,工法讲究。从清水砖墙的定义来看,“使用质地优良的黏土砖砌筑的墙体,其本身已具有质朴的外观和良好的耐风雨、抗污染性能,因而不另作面层,这种墙称为清水砖墙”[1],古代建筑中作为外立面装饰的砖墙理应纳入清水砖墙范畴。但近代以来传入中国的清水砖墙建筑则是一种建造范围更广,且成为一种典型装饰风格的建筑类型,近代建筑清水砖墙的价值、保护方法与古代建筑也有所区别(图3)。

图3 上海崇思楼的清水砖墙(元宝缝)
(一)近代清水砖墙的传入历史
我国古代的制砖技术一直以生产青砖为主,在以木构为主的古代建筑中砖墙主要作为维护结构,表面大多有抹灰层,部分等级较高的建筑采用干摆或者磨砖对缝作为表面装饰,普通民居中也有带灰刀或糙砌的清水墙做法。受海上丝绸之路的影响,大约在明末福建泉州一带的沿海地区开始大量建造“红砖厝”民居。
19世纪中叶,五口通商开埠初期,外国殖民者最早采用的建筑样式通常为外廊式,而外墙材料只能选择中式青砖、土坯砖、石灰等。1853年,英商在上海租界开设了第一家近代大型建材厂——上海砖瓦锯木厂,为租界提供建筑材料。1860年代后,受英国维多利亚时期的新文艺复兴风格和哥特风格,以及后来的安妮女王复兴样式的影响,上海等开埠城市开始采用清水砖砌筑外墙,出现欧洲式红砖,同时也保留了青砖[2],青砖与红砖并用,砖的砌筑和排列方式开始多样化,外廊的特征逐渐弱化,西式装饰手法广泛采用,形成具有强烈装饰效果的清水砖墙建筑。
1920年代,机制砖已经可以大量生产和广泛使用,拼花图案和线脚愈来愈丰富,勾缝工艺也有所创新,发展出了平缝、平面图线灰缝、泻板灰缝、凹缝、凸缝、方槽、勾脚、方线、连底方线、三角灰缝等不同形式(图4),清水砖墙建筑立面越来越追求华丽与丰富的装饰效果。

图4 近代建筑常见砖墙勾缝做法示意图
(图片来源:《建筑月刊》1936.4(1):42,引自:李海清.中国建筑现代转型[M].江苏:东南大学出版社,2004:222)
与传统砖作相比,近代建筑清水砖墙的工艺有所改进和提高,尤其是上海等沿海开埠城市中出现的“元宝缝”建筑,即凸圆缝。首先要求砖的尺寸一致,表面平整,棱角分明,每块砖均需经过打磨;其次分类细密的专门工具增多,如搅和灰浆的搅拌板,校准水平使用的水银平尺,勾砖缝使用的“洋铁皮”和“圆套”等(图5);最后定砖缝时要使用较精确的标尺,要求灰缝厚度及砖缝线对位极为精确、均匀[3]。

图5 近代泥瓦工常用工具
(图片来源:《建筑月刊》1936(1):45,引自:李海清.中国建筑现代转型[M].江苏:东南大学出版社,2004:223)
内陆地区的社会、经济发展比沿海沿江开埠城市缓慢,建筑营造业发展滞后。但在城市与乡间也建造了一批近代清水砖墙建筑,比如军阀、士绅在乡间建造的带有西式装饰的“洋房子”。这些内陆地区的建筑样式受建材工业发展的制约,重庆直到1930年代才建立机制砖瓦厂量产红砖,因此,重庆、贵州等地的清水砖墙建筑都是以青砖为主。
(二)近代清水砖墙的价值构成
价值是建筑遗产保护的前提,保护的根本目的是保留并延续有价值的历史构件或历史信息。近代建筑有完整的价值评价体系,可以大致分为历史价值、艺术价值、科学价值、文化价值、社会价值,再加上李格尔(Alois Riegl)提出的“情感价值”。而作为建筑外表皮的清水砖墙,在近代建筑价值体系中占据什么位置?有没有自身的独特价值?这是回答“近代建筑清水砖墙到底要保护什么”的关键。
艺术价值:与古代建筑不同的是,清水砖墙是近代建筑立面艺术风格的重要装饰和典型特征,在设计之初就会根据不同的建筑风格,结合清水砖墙的特性,选择各种不同的色彩搭配、拼花图案、线脚和灰缝,同时也要受经济财力和建筑材料的制约。从外廊式风格、哥特复兴风格、安妮女王风格,发展到文艺复兴风格、新古典主义风格,再到装饰艺术风格,不同的建筑风格会有不同的清水砖墙砌法、图案和线脚装饰(图6)。因此,保存并修复清水砖墙表层的色彩、肌理、砌法、拼花、线脚、灰缝等,是保护近代建筑整体艺术价值的重要组成部分,而改变色彩、肌理、砌法、拼花、线脚、灰缝的修复方法,或多或少都会在一定程度上破坏清水砖墙本身以及近代建筑整体的艺术价值。

图6 由不同色彩和砌法的清水砖墙形成的典型立面装饰
岁月价值:奥地利艺术史学家李格尔(Alois Riegl)提出的“岁月价值”,是指时间在建筑物上留下的痕迹,即通常所说的“历史沧桑感”,更通俗的理解是类似于历经沧桑的“古董”表面“包浆”所特有的价值。对于近代建筑中的清水砖墙而言,经过长时间日晒雨淋之后,墙体表面会逐渐风化并在色彩上呈现出斑驳的状态,罩上了一层“古色”(patina),这是时间和自然力在外立面上留下的岁月痕迹。“岁月价值”反映出近代建筑“真实”的历史演变过程,在修复清水砖墙时一定要注意保持这份“沧桑感”(图7)。

图7 上海崇思楼保留岁月痕迹的清水砖墙
如果将外立面粉饰一新,原本目的可能是为了美观,但实际上是以“美”掩“真”,且并不能达到预期的审美(图8)。而清水砖墙表面的“古色”却能提供一种独特的具有“历史沧桑感”的审美体验,这不是简单的依照原形制复制一个立面所能给予的。

图8 贵州某近代建筑修饰一新的清水砖墙
历史价值:清水砖墙自身很难直接承载建筑的历史价值,除非在墙体表面附着有重要历史事件或人物的活动证据,比如战争中的枪弹孔、标语等。因此,近代建筑清水砖墙的历史价值是与建筑整体的历史价值分不开的。由于建筑功能、使用者会不断变化,其价值可能也会随之改变,尤其近代建筑若与重大历史事件和重要历史人物发生关联,在登录为保护对象进行价值评价时,会突出其见证重要事件或人物的历史价值,将其命名为“纪念地”或“故居”。这类建筑若采用了清水砖墙立面,在制定修复方案时,除了要关注艺术价值、岁月价值外,还要考虑历史价值,即重大事件发生或重要人物生活的历史时期,建筑的外观是否已经发生改变。
三、如何确定修复目标?
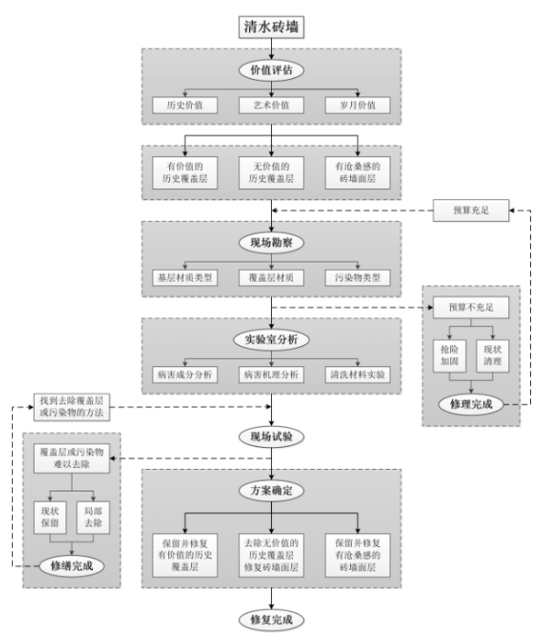
准确的价值认知是确定保护修复目标最重要的前提,近代建筑清水砖墙的价值主要体现在艺术价值、岁月价值和历史价值方面,但价值评估不等于价值的简单叠加,而是要综合评估。要确定清水砖墙的修复目标,即修复所要达到的“程度”,必须要建立在“价值评估—现场勘察—实验室分析—现场试验”等一系列流程的基础上,根据价值评估的结果,参考项目的经费预算、技术的难易程度等,经过综合分析才能决策。这种决策机制可以用(图9)来表示。

图9 清水砖墙修复目标确定流程图
(一)价值评估
做好历史价值评估,要对建筑的历史演变过程进行深入研究。近代大城市尤其是开埠城市中重要的建筑物一般都会有建筑图纸、历史档案和照片影像,通过查阅档案、报刊杂志、纪念册等,可以深入了解建筑历史演变过程。尤其是要了解清水砖墙的建造历史和修缮历史,厘清清水砖墙的建造年代,表面如有覆盖层的话是什么时候加的,当时覆盖的原因是什么,尤其要注意是否是因为原来的清水砖墙损毁严重而进行的覆盖,那么在去除覆盖层后可能会引起新的病害问题。此外,还必须关注该建筑与重大历史事件或重要历史人物的关联,一般从保护对象的公布名称中就可以看出,要尽可能弄清重大历史事件发生或重要历史人物居住时期,建筑外立面的状况,是否已经有覆盖层。
做好艺术价值评估,要对建筑整体的艺术风格有清楚的认知。近代建筑外立面往往是其风格的集中体现,要分清外廊式风格是梁柱式还是券柱式,哥特复兴风格、安妮女王风格的拱券是圆券、尖券还是三圆心券,文艺复兴风格、新古典主义风格立面构图是三段式还是五段式等等。一般来讲,清水砖墙的色彩搭配、拼花图案、线脚和灰缝等都与建筑整体风格相关联,砖墙的所有细节也是建筑整体艺术价值的组成部分。如果表面被覆盖,则要了解覆盖面层是否也参照了当时某一种典型的建筑装饰风格,进而判断覆盖层是否也具有一定的艺术价值。
进行岁月价值评估,要分清具有岁月价值的原始材料老化和附着在原始材料表面的“污垢”。清水砖墙之美,很大一部分是由于砖砌体表层老化后形成的千差万别的颜色微差,能带来与时间维度相关的审美愉悦感,不恰当的清洗方法会破坏这种岁月价值[4](图10)。

图10 砖墙表面自然老化形成的色彩微差
但也有因为油漆、涂料、水渍、动物粪便、菌类、泛碱、烟熏、锈蚀等,而在砖墙表面形成污垢或变色,这些污垢会继续加速砖墙的风化等病害,因此是需要清除的(图11)。

图11 砖墙表面因附着物形成的“污垢”
同样,如果清水砖墙表面的覆盖层具有了较高的历史价值或者艺术价值,则同样应该评估覆盖层所具有的岁月价值,综合分析后再确定是否加以去除。经过历史价值、艺术价值、岁月价值的评估,可以将清水砖墙表层分为3种状态:有价值的历史覆盖层、无价值的历史覆盖层、有沧桑感的砖墙面层。现实工程案例中,各种不同时期的添加物、不同的材质和保存状况往往会出现在同一栋建筑或同一面墙体中,清水砖墙很难有一个理想的单一状态,因此不能武断的采用单一标准,简单的将外立面恢复到历史上“所谓”价值最高时期的外观,因为这种风格“统一”的外观可能在历史上从未真正存在过。清水砖墙不同部分的价值侧重点有所不同,即使是同一面墙也可以根据价值评估的不同而选择不同的修复目标和修复方法,要视具体情况而定。
(二)现场勘察与实验室分析
近代建筑的现场勘察主要包括形制勘察和病害勘察两部分。外立面形制勘察重点关注建筑立面形制风格、立面材质类型、覆盖层材质,同样也要关注结构形式;外立面病害勘察包括墙体缺损、裂缝裂隙、生物侵蚀、风化、空鼓、剥落、泛碱、水渍、烟熏、锈蚀痕迹、人为涂写,以及油漆、涂料、水泥、瓷砖等覆盖,以前修复时采用的不当修复材料和化学防护等。
在现场勘察之后,如果项目经费中关于外立面保护的专项经费充足,则可以进入实验室分析;若项目经费不充足,则建议对必须补强的部位进行抢险加固,对易于去除的“污垢”进行现状清理,其余部分保持现状。切不可在经费不充足的情况下,采用成本低廉的“不当”技术进行盲目的修复,因为这往往会造成不可逆转的破坏。待到经费充足时,可以再次进入现场勘察和实验室分析等流程。
实验室分析需要现场进行材料取样,并记录下材料取样位置、深度及数量。实验室研究的主要内容包括:
① 主要材料的宏观及微观特征研究,包括颜色新鲜面及风化物、主要成分、表面构造、老化程度等;
② 砌筑材料和勾缝研究:主要成分、水泥或石灰含量、原始配比、原始骨料的成分类型分配曲线及颜色;
③ 覆盖面层研究:覆盖层成分、颜色、厚度以及施工工艺等;
④ 主要材料水溶盐(主要为Cl-,NO3-,SO4-)的研究及评估[5]。此外,还要进行清洗材料实验:选择不同清洗材料进行清洗效果、环境污染度、操作便利度、经济性等对比,筛选出最适合现场操作的清洗材料。
(三)现场试验与方案确定
现场试验主要包括清洗试验与修复试验。经过实验室分析可以初步确定外立面清洗材料,但在现场开展大面积施工之前,还必须进行小面积的现场试验,一般称之为打“小样”,即测试实验室材料和方法的可行性和可靠性。在修复试验时要重点解决新作与“古色”之间的协调问题,因恢复艺术特征完整性而新作的部分,或因缺失而修补的部分,与原有“古色”的墙面存在色差,在西方的保护理念中,一般是基于“可识别”原则,让新作部分与原构在色彩、肌理上略有区别。但在国内的实践中,更强调新作部分要进行“做旧”处理,即“修旧如旧”,这是需要各方讨论的修复细节。通过“小样”试做,可以让参与项目的业主、设计、施工、监理等各方在保护理念和审美方面尽可能地达成共识,重要的保护建筑还要邀请文物主管部门和专家共同参与“小样”的确认。现场试验“小样”一般以1平方米见方为一个样板段,尽可能避开建筑主要装饰的立面和重点部位,选择建筑隐蔽的角落进行试做。有时候在样板阶段会反复试做数次甚至十数次,才能获得各方的认可。该步骤是控制整个项目最终修复效果最为关键的一步,必不可少。现场试验还会遇到一种情况,实验室的材料和方法并不适合现场的状况,比如清水砖墙外表覆盖物或污染物难以去除,或者去除后底层的清水砖墙会遭到更大的破坏,修复代价高,也不符合最小干预原则。在这种情况下,可以选择暂时保持现状,或局部去除覆盖层,等今后找到更合适的去除覆盖层或污染物的材料和方法后,再次经过现场试验后实施(图12)。

图12 民生路码头仓库清水砖墙与水泥覆盖层同时保留
四、如何选择修复技术方法?
1990年代初,以上海为代表的城市开启了近代建筑保护历程,沿用了“房修”系统的修缮技术。2000年以后,国外清水砖墙修复的理念和材料陆续引入国内[6]。经过长时间的技术积累,上海形成了地方规范《优秀历史建筑保护修缮技术规程》。到今天,我国的文物保护修复理念已基本与国际接轨,修复的技术方法也更加科学,很多项目已经可以依托保护实验室进行科学检测、分析和实验。
但在实际的文物保护工程中,仍有很多项目的保护技术方法还停留在二三十年前,对清水砖墙造成“修复性破坏”。究其原因,除了一些地区清水砖墙修复的预算定额不足外,主要与保护理念落后、保护过程中过分追求经济利润等有关。因此在加强各级文物保护人员培训的同时,还须列出“负面清单”,即通过简单而直接的图文形式,让一线文物保护人员明白哪些技术方法是明确禁止的,哪些技术方法是有条件使用的(见表1)。
表1 近代建筑清水砖墙清洗与修复技术方法负面清单表
(根据《近代建筑外立面保护技术检讨——以上海近代建筑保护
实践为例》《历史建筑外饰面清洁技术》《历史建筑材料修复技术导则》整理)




即便是在近代建筑保护技术方法处于领先的上海,出台“负面清单”也是当务之急。当前在工人中流行一种“满敷砖粉、打磨出底”的修复技术方法,简单清洗砖墙表面后,即采用砖粉盖满整个墙面,然后用角磨机打磨,直到露出老砖砖面,将所有难以去除的“污垢”全部磨去,而原来缺角、风化、剥落的部位因满盖的砖粉而修补平整。这种工法修复后的清水砖墙虽然远观整洁,但近观却造成破坏:一是打磨属于物理清洗方法,不可避免的会损坏原始砖墙的表面,而砖在烧制过程中,表面因温度高而更坚硬,加上表层老化后共同形成了防护层,角磨机会在砖表面留下一圈圈弧形的打磨痕迹,实际上已经破坏了具有保护作用的表层,使得砖面更容易发生风化等新生病害;二是不符合最小干预原则并破坏了岁月价值,所有的砖墙被无差别的打磨掉表面的“污垢”和带“古色”的面层,而且根据规范浅表风化或微小缺角不用修复的部位也会被“过度修复”。但这种工法一来不需要挑选材料进行细致的清洗,二来不用逐块修补砖面的缺角、风化、剥落,能大量节省施工现场的人工,大大节约成本,获取更多的利润,因而在实际工程中广泛使用。这也更加说明出台“负面清单”迫在眉睫。“负面清单”应该成为带有一定强制性的专业技术文件,在此基础上还要开展文物主管人员、设计、施工、监理等一线人员的培训,在工程实践中推行样板试做制度,弥合保护理念与工程现场之间的鸿沟,避免在保护工程中造成二次破坏。
五、结 语
自启蒙时代以来,西方的价值认定经历了从“以美掩真”到“以真为美”的转变过程,逐渐形成了真、善、美主次分明的遗产价值观[7]。而中国在文物保护价值哲学等方面的反思和讨论仍不足,在实践中全国各地的文物修复理念和技术方法千差万别。以近代建筑清水砖墙为例来讨论保护理念和方法,很具有代表性,很多修复案例表面上是为了美观,实际上破坏了“真实性”,本质问题是对价值认知不足,就技术而谈技术,没有追问“为什么”,有时是判断过于简单,有时则是工程利润驱使。“负面清单”可能是最简单和直接的方式,能够遏制一些保护工程中的“破坏性修复”行为,将再次修复的可能留给未来理论更成熟、技术方法更科学的时候。
参考文献(略)
摘 要:清水砖墙是近代建筑立面的重要装饰和典型特征,在色彩搭配、拼花图案、线脚和灰缝上具有典型特征。在保护修复时,要充分研究其艺术价值、岁月价值和历史价值,并经过“价值评估—现场勘察—实验室分析—现场试验”等流程,最终达到保护并延续其价值的修复目标。根据相关文献及修复实践,列出近代建筑清水砖墙清洗与修复技术“负面清单”,以图文形式让工程修复实践人员明白哪些技术方法是明确禁止的,哪些技术方法是有条件使用的,为清水砖墙修复实践操作提供简单可行的指导。
关键词:近代建筑;清水砖墙;价值认知;保护修复;负面清单
原标题:基于价值认知的近代建筑清水砖墙修复方法反思
作者:侯实,王进,周贤华
文章来源:中国文化遗产. 2020(05)
图文版权归原作者或机构所有